産品展示_沈陽襄阳频升塑料制造有限责任公司(急速版)提供電動球閥,電動蝶閥,氣動球閥,氣動蝶閥,閘閥,截止閥,止回閥,安全閥,調節閥,高壓球閥,電動調節閥,減壓閥,針型閥,疏水閥,通風煙氣閥門等多種閥門選擇緻力于滿足遼甯,吉林,黑龍江,内蒙,等區域的閥門需求,。
总 公 司急 速 版(ban)WAP 站H5 版无线端AI 智(zhi)能3G 站4G 站5G 站6G 站
 
·

全國統(tong)一服務熱線:18524426278

留(liu)言反饋 聯系我們

站内公告:

本(ben)公司專業生産(chan)電動閥門,氣動(dong)閥門,電動蝶閥(fa),氣動蝶閥,電動(dong)球閥,氣動球閥(fa),電動閘閥,非标(biao)閥門
産品(pin)展示

> 當前位置(zhì):首頁-産品展示(shi)-止回閥

微阻緩(huǎn)閉止回閥WDLHH44X

2026-01-08 點擊(jī)量:1157

微阻緩閉止(zhi)回閥WDLHH44X

【閥門介紹】

微阻緩閉(bì)止回閥介紹

【閥門型(xing)号】

常(chang)見的微阻緩閉(bì)止回閥型号有(you):
hh44h系列型号有:hh44h-10、hh44h-10c、hh44h-16、hh44h-16c、hh44h-25、hh44h-40、hh44h-40c、hh44h-64c、hh44h-100c、khh44h等(deng);
hh44x系列型号有:hh44x-10、hh44x-10c、hh44x-10q、hh44x-16、hh44x-16q、hh44x-16p、hh44x-16c、hh44x-25、khh44x等(deng);
hh44z系列型号有:hh44z-10、hh44z-16、khh44z等(děng);
hh44t系列型号有:hh44t-10、hh44t-16、hh44t-25、khh44t等(děng);

【性能(neng)參數】

公稱通徑從DN40到(dao)DN900;
公稱壓力主要(yào)有1.0MPa、1.6MPa、2.5MPa,同最高工作(zuò)壓力相同;
工作(zuò)溫度一般小于(yú)80℃,若客戶有特殊(shū)要求,可達到200℃;
适(shi)用介質一般是(shì)水、弱腐蝕性介(jie)質;
零件材質一(yī)般有鑄鐵、鑄鋼(gang)、不鏽鋼等。

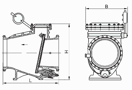
【結構示意(yì)圖】

微(wei)阻緩閉止回閥(fa)結構示意圖

【安裝示(shi)意圖】

微阻緩閉止回(huí)閥安裝示意圖(tu)

【外形(xing)尺寸】

公稱壓力(lì)(MPa)公稱通徑DN(mm)尺寸(cùn)(mm)
LHB
1.0



1.6



2.5
40200300220
50230300270
65290320290
80310354300
100350350320
125400380340
150480500410
200500580450
250600670550
300700700580
350800820630
400900920700
4501000950800
50011001100900
60013001200990
700140015501120
800150017001300
900170018001350


总 公(gōng) 司急 速 版WAP 站H5 版(bǎn)无线端AI 智能3G 站(zhan)4G 站5G 站6G 站
·
·